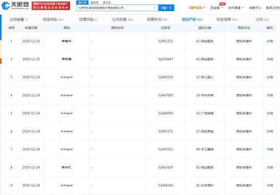
北京京东叁佰陆拾度电子商务有限公司新增“京民通”、“京智办”商标申请信息,国际分类涉及网站服务,商标状态均为“商标申请中”。

12月24日,该公司还申请了多个名为“JD Original”、“京分汇”的商标,国际分类涉及军火烟火、布料床单、网站服务等,状态也均为“商标申请中”。
同时,天眼查资料显示,北京京东叁佰陆拾度电子商务有限公司成立于2007年4月,注册资本9.2亿元,法定代表人为张奇。根据股权穿透图,该公司的股东为刘强东、李娅云、张雾,分别持股45%、30%、25%。

此外,新浪科技日前报道称,京东成立了面向下沉市场的京喜事业群,并任命郑宏彦为京喜事业群负责人,向刘强东汇报。据悉,京喜事业群主要包含京喜通事业部、京喜事业部、京喜拼拼、惊喜快递等业务部门,将围绕京东集团的供应链、物流和技术等核心能力,服务下沉市场。
注:文/刘峰,文章来源:电商报,本文为作者独立观点,不代表亿邦动力网立场。
文章来源:电商报